競價推廣遇到惡意點擊怎么辦?7個絕招解決惡意點擊!
雖然惡意點擊在以前很瘋狂,隨著搜索引擎的發展以及競價廣告行業的縮減,惡意點擊有點沒落了,但是有利益糾紛的地方就會存在這種黑暗的一面。這篇由常規方法,講到特殊方法,望有光的地方多點,黑暗少點!某省會,搞醫療的,那個惡意點擊,每天狂轟亂炸,每月數以百萬計,錢全燒給了百度!
一、常規操作
1.商盾訪客與ip屏蔽設置:
進入百度商盾,點擊新增“訪客策略設置”,分別建三次:15分鐘3次,1小時4次,6小時5次,“ip策略展現屏蔽”,也類同!如圖:

效果可在“實時ip查詢"里看到,位置:點擊手動展現屏蔽,再點實時ip點擊屏蔽,如圖:


我處理過的賬戶,只要開了商盾,總能節省一些錢!呵呵,可見你的對手,沒有手軟!
二、何為“可疑ip”?附3種數據分析法:
那什么ip和點擊是”可疑“的呢???
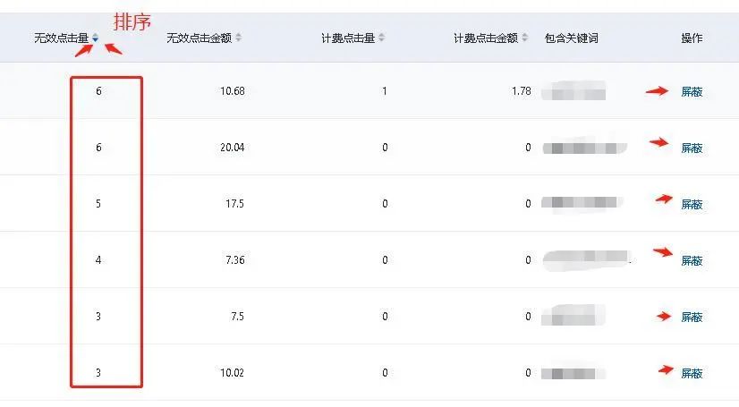
商盾中,找到”手動展現屏蔽“展現,會有四個選項,如圖:

1.我們先看,實時ip點擊屏蔽:點擊進入,會看到:

找到無效點擊量,然后點擊旁邊 三角形的小箭頭 排下序,最右邊就是對應的屏蔽設置。
凡是有3次以上的,全屏掉!如果你賬戶點擊量挺大,那1次的也不要放過!可能會誤傷正常用戶,但這點代價是值得的!
雖然百度說:因為升級ipv6,導致有些ipv4屏蔽不準,但是,你仍然可以在”新增ip屏蔽“中添加”可疑“的ip,因為有的同行傻,每天就一部手機一個ip點你,也不清緩存,所以有用!
咱繼續看哪些是”可疑ip”??
2.打開基木魚,位置:數據分析--數據看板--實時訪客--訪問明細


凡是訪問時長低于10秒的,就可以屏掉!
點擊時長數字旁邊的那個小圈圈,再點屏蔽訪客即可!
為什么訪問會低于10秒?
答:
1.要么是惡意點擊,人家要點你,動作會比較快,不會留很久,呵呵!
2.用戶對網頁不感興趣,落地頁做得太差!
3.用戶搜索的詞打偏,也會出現這種情況!比如,用戶搜cad是什么?結果你的網頁是培訓學校!
那種,搜索詞又對應,網頁又沒問題,卻只有3秒5秒的,絕對是惡點!
所以,10秒以下都可以屏掉!
順便,你可以看下:哪些關鍵詞停留時間正常,或很長,這類關鍵詞用戶是有興趣的!是否有同一個同一類搜索詞大量涌進來,這屬于數據分析,不多說了!
繼續看哪些是”可疑ip”??
3.把這個“實時訪客”的表下載下來:

然后,用excel表,高亮顏色顯示重復ip,然后再按顏色排序,這樣重復的ip就找出來了!
如果有大量重復ip,就在開始說的新增ip里屏掉吧!該留線索的已經留了,你這一步,是后置動作,關系不大!如圖:

另外,還有幾種躲避式辦法,話說惹不起,咱總躲得起吧!
三、關鍵詞分拆法
你想想,對手會找哪些詞點你??
對頭,貴的!短的!不然效率不高嘛!
有的關鍵詞,價格又高又貴,對手往往就是找這類關鍵詞點你!多注意這類詞,然后把這些詞“精確否掉”!
有用的東西,可能話不多,聽懂掌聲,呵呵,變掌聲哥了,開玩笑!
四、時段分拆法
惡意點擊,常規在早晨一波,特別是競爭不太明顯,預算比較小的行業,尤其注意!
以前,有一個主管,要求員工,上班首先打開手機,把對手先刷一次再說!這種情況,一般發生在早8點到9點,如果預算小,這個時段避開,利遠大于弊端!
另外,強勢的惡意點擊,往往很多手機同時開干!
也有規律,哪個時間點數據特不正常,點擊猛增,消費巨大,那就是對手在干活了,先停一停!并記住這個時間點!
五、隱身法
這個適合于跑全國,或城市較多的賬戶,有的同學想,XX的!怎么丟都丟不掉你!咱躲起來總行吧!
對手整你,首先需要換ip軟件,而軟件上的地區ip是有限的,一般省會城市可用ip比較多,那選一些小城市先躲起來,嘿,你找不著我了!呵呵!
六、極簡法
這個方法,有點摳門,可能你的推廣消費,比老板給你開的工資還要少很多!那就是,只做極少數、精確的、幾個個長尾關鍵詞!這聽起來可笑,但是是真實發生過的!
北京,某詞,點一下600元!你咋辦,拆成長尾詞,比如:耳鼻喉醫院哪里好,是高價詞,拆成 :北京西城區哪里治療鼻炎好,北京朝陽區哪里有治療鼻炎的,或者分成低價詞:鼻炎的癥狀、原因、危害一類,這一類低價詞,往往對手忽視,不會點你,因為詞比較長,打字太多,懶得費力!
七、回禮
如果對手惡意點擊你,你要不要回禮??為什么要回禮??可評論區說說看!
這里又說一個故事:有一位競價主管,硬是被同行點煩了,還被老板罵了,他找到所有對手的網頁,順著商務通、53客服、愛番番啥的,一個個留言:本公司因惡意點擊已造成巨大損失!我已報警!網警已介入!一個也不放過!你們等著!打個工,還把自己玩進去??省省吧!!“上海金手指軟件案”你查查,下一個就是你,保證你進去!!
連續幾個星期,世界清靜多了,偶爾有惡點,但比以前的情況好太多!






